公司管理流程图(工厂最好的流程图)
{企业管理流程图}精益价值流价值流程图

1 选定产品组
挑选出典型的产品作为深入调查分析的对象。
销售金额大、生产数量多、生产周期长。
2 价值流图常用符号
3 绘制当前状态图
1、收集相关信息 一般从最下游的作业(即发货)开始,收集实际的过程数据,例 如发货频率、订货量、工艺流程图、各工序作业时间、换模时间、 操作工人数、班次、周期时间等。
价值流程图的组成
• VSM的基本构成有四大部分(无 先后): 顾客部分。顾客发出 信息,可能是订单,新产品, 等等; 公司系统部分。可能是 ERP, SAP任何系统,顾客信息进 入公司系统; 供应商部分。
• 内部物料流。主要指产线部分, 至少需要人机料(Man, Machine,
价值流程图的组成
流程的系统性诊断工具。从整个流程而非某个工艺过程分析问题。
实施精益的战略性工具。实施计划的基础。
Kaizen
价值流程图的作用
应用价值流分析能够做到: • 缩短整个流程时间,提高增值时间比 • 降低库存,增加流动资金 • 加强流动弹性 • 简化信息流 • 消除浪费,减少间劳动时间
价值流图析步骤
应用价值流程图改善的案例
发现问题点
1、信息通过香港分公司周转后周期长、成本高。 2、原材料订购时间需要60天,延缓了周转速度。 3、在产品生产过程中,生产周期长,中间的在库量太大,
重复的搬运和停顿非常多。 4、成品的在库量太大,时间长达14.6天。
绘制未来状态图
精益生产管理的着眼点
着眼点一:创造价值,把不产生价值、却占用企业资源的业务流程 环节、实物流程环节全部删除。 通过解决重复、停顿现象去发 现问题,使得管理流程的价值最大化。因此,推行JIT 要以价值 为关注焦点开展革新活动。
VSM价值流程图基本概
公司管理系统流程图(绝对有用)

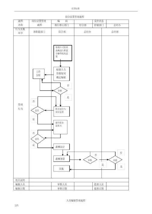
岗位设置管理流程流程名称岗位设置管理流程编码受控状态执行核心部门综合部控制部门总经办行为实施环节各职能部门综合部总经办总经理管理行为相关说明编制人员审核人员批准人员编制日期审核日期批准日期·人员编制管理流程否是否否是否根据公司发展战略进行职能分解和机构设置根据人力资源规划确定编制工作分析审核职责划分与岗位设置意见制作职务说明书意见薪酬设计薪酬预算审核审批实施是是是否流程名称人员编制管理流程编码受控状态执行核心部门综合部控制部门总经办行为实施环节各用人部门综合部总经理办公会议总经理管理行为相关说明编制人员审核人员批准人员编制日期审核日期批准日期·是否进行各部门工作量分析提出编制草案对本部门编制提出意见审议制定具体的人员编制,并编制职位说明审核否是签批否是执行编制增加编制申请流程流程名称增加编制申请流程编码受控状态执行核心部门各用人部门控制部门总经办行为实施环节各用人部门综合部总经理办公会议总经理管理行为相关说明编制人员审核人员批准人员编制日期审核日期批准日期·用人申请流程否否提出增加编制的申请审核审议审批提出增编岗位人员素质要求决策内聘外聘内部招聘流程外部招聘流程是是是否流程名称用人申请流程编码受控状态执行核心部门用人部门控制部门分管经理行为实施环节用人部门部门负责人分管部门综合部管理行为相关说明编制人员审核人员批准人员编制日期审核日期批准日期是因调动、流失等原因出现职位空缺报告部门负责人判断不影响工作维持现状影响工作填写用人申请表审核核实是否否实施招聘流程名称流程执行核心部门行政人力资源部控制部门总经办行为实施环节用人部门综合部公司员工员工原就任部门管理行为相关说明编制人员审核人员批准人员编制日期审核日期批准日期·公司外部招聘流程流程公司外部招聘编码受控状态关键人员不能调离决定内聘决定外聘用工申请流程判断对内发布招聘启事报名,填写应聘登记表用人部门面试,人力资源部提供相关支持面试人员筛选判定与员工沟通,必要时请人力资源部协调通知职员,并办理调动手续非关键人员公司外部招聘程序行为实施环节用人部门行政人力资源部应聘人员分管经理总经办管理行为相关说明编制人员审核人员批准人员编制日期审核日期批准日期·新员工入职流程流程新员工入职编码受控状态决定外聘决定内聘用工申请流程判断对外发布招聘启事报名,填写应聘登记表用人部门面试,人力资源部提供相关支持面试人员筛选通知报到报到公司内部招聘程序审核否是入职流程行为实施环节行政人力资源部用人部门管理行为相关说明编制人员审核人员批准人员编制日期审核日期批准日期·劳动合同管理流程流程名称劳动合同管理流程编码受控状态执行核心部门行政人力资源部控制部门总经办新员工建档工作证办理制度培训发放员工手册工作关系介绍人力资源部和用人部门配合进行岗前培训工作交接试用存档试用员工转正流程签订试用合同配合行政部办理后勤工作管理行为相关说明编制人员审核人员批准人员编制日期审核日期批准日期·新员工试用期满转正流程流程名称新员工试用期满转正流程编码受控状态执行核心部门行政人力资源部控制部门总经办行为实施环节用人部门试用期满新员工行政人力资源部分管经理厂长总经办不合格新员工报到入职签订试用合同试用期满考核签订正式合同辞退流程合格劳动仲裁机构签字备案合同期满是否续签合同存档办理离职手续否是管理行为相关说明编制人员审核人员批准人员编制日期审核日期批准日期·岗位轮换流程流程名称岗位轮换流程编码受控状态执行核心部门行政人力资源部控制部门总经办转正考核评估是否合格填写转正申请是否留用审核审批延长试用期员工辞退流程签订正式合同劳动仲裁机构签字备案存档是否是否是否否是行为实施环节员工原工作部门负责人公司员工行政人力资源部接收部门负责人管理行为相关说明编制人员审核人员批准人员编制日期审核日期批准日期·员工工作调动流程流程名称员工工作调动流程编码受控状态执行核心部门人力资资部控制部门总经办否根据员工职业生涯规划,编制轮换计划对轮换提出意见是否同意征求员工意见是否同意填写轮换表办理手续向原部门、接收部门下达通知工作安排和交接报到流程对轮换提出意见是否同意做好工作安排,准备接收接收是档案记录是是否否行为实施环节被调动员工调出部门调入部门行政人力资源部总经理管理行为相关说明编制人员审核人员批准人员编制日期审核日期批准日期·职务任命流程流程名称职务任命流程编码受控状态执行核心部门行政人力资源控制部门总经办超越权限否否否否是是调动申请审批审批审批审批下发调动通知工作交接员工关系移交员工接收工作安排档案记录工资关系调整是是行为实施环节各职能部门行政人力资源部总经理办公会议总经理董事会管理行为相关说明任命权限根据《公司法》而定。
公司全套管理工作流程图(完全版)一 (1)精选全文

复核考核表 有偏差否
根据部门等 级排列个人 考核等级
总经理
各部门
年度考核 执行办法
终审
年度考核 执行办法
组织设定部门 和个人的期间 考核项目和
KPI指标 部门及个 人绩效考
核表
期终进行 考核打分
决
人事行政部
总经理
当事人
策
根据公司决策
性
结果填制
调动
人
审批表
事
部长签审
调
分管副总
动
签审
程
调动 审批表
调动 审批表
终审
准备培训资 料及经费
实施培训
工
用人单位
分厂人事科
人
请假当事人填写
请
请假单
假
申
班长签审
请
车间主任签审
3天
程
以上
副经理签审
序
8天
以上
经理终审
请假单
当事人工 作交代
存档
职
用人单位
总经理
集团总裁
人事行政部
员
及
请假当事人填写
干
请假单
部
请
科长签审
假
申
部长签审
请
程
副总签审
请假单
请假单
序
请假单
终审
终审
当事人工 作交代
序
终审
发文、归档
调令
调令
办理移交
说明:跨公司调动,必须由上级公司签发人事调动令,调出单位 办理解聘,调入单位办理录用。
部
当人事
调出单位
调入单位
人事行政部
门
根据员工或
间
公司质量管理体系流程图汇总(ppt 35页)

是 结束
高级技术管理工程师 下达计划
高级技术管理工程师 将计划完成情况 反馈行业归口 主管部门
高级技术管理工程师定期 跟踪各部门计划执 情况并反馈
各部门根据行业归口 要求上报计划、总
结、申报、汇报
各类计划修定等通知
各部门修订计划总 结并上报技术 质量部
将计划完成情况反馈 质量部技术
各部门定期定期 将计划执行 情况反馈
选拔审核员
总经理确认 审核小组及审核员
否 是否同意
是
审核组按内部质量 审核程序实施审核
内部质量审核流程 C-06-002-004
C-06-002-002-002 各部门
管理评审流程 C-06-002-007
文件和资料控制实施流程
技术质量部
各部门
质量经理编制质量 文件、编号规定
存档
提交总经理审批
否
是否通过
修正质量管 理体系文件
质量管理 体系文件
各部门执行 质量管理 体系文件
各部门根据执行 提出反馈 意见
总裁
总裁批准质量体系文件 发布实施日期
技术质量总监组织和监 控质量体系实施全过程
质量体系实施程序-1
技术质量部
质量经理编制 实施计划和体系
文件发放清单
总经理审批
质量体系 实施计划
否 是否同意
是
文件管理人员将体系 文件发放至各部门
审批各类计划、 总结
否
是否同意
是
下达新的各类计划等通知
各类计划、总结、申报、 项目跟踪、通知
高级技术管理工程师根据行业 归口部门的各类计划
总结申报要求组织相关部门上 报计划、总结、申报、 项目跟踪、汇报
工厂精细化管理流程图

工厂精细化管理流程图工厂精细化管理流程图 1.1.1 生产能力核定流程部门生产总监生产部生产能力核定小组相关部门步骤收集资料提供资料准备进行生产确定产品种能力类及数量核定确定生产规划组建核定小组进行生产审批审核制订核定计划提供资料能力核定收集资料核定生产班组、车间的生产能力核定企业生产平衡各生产车能力间的生产能力核定工厂生产能力编制编制企业生产审批审核核定能力报告报告并予存档资料存档1.2.1 年度生产计划制定流程部门总经理生产总监生产部相关部门步骤分析上年生产准备计划完成情况编制年度调查研究影响生生产提供资料产的因素变化计划确定生产指标编制年度生年度提供支持产计划草案生产计划试算论证年度生产计划草案平衡审批审核修订年度生产计划年度生产编制正式的计划年度生产计划确定年度生产计划的监督实施年度生产计划监督资料存档落实1.2.2 月度生产计划制定流程部门总经理生产总监生产部相关部门步骤分解年度生产计划收集汇总、分析本月提供资料信息计划完成情况分析确定新的生产需要编制月度编制月度生产生产计划草案计划草案月度生产计划草案参与审批审核的试算平衡编制正式编制正式月度月度生产计划生产计划下发月底生产计划月度生产计划的实施实施、监督月度生产计划资料存档1.3.1 月度生产计划制定流程部门生产总监生产部生产车间生产班组步骤分解生产计划分解工厂生产下达生产计划接收生产计划计划编制车间生产计划审批审核编制实施车间生产计划具体作业并予执行无按车间生产计划审批问题生产并上状况修订车间生产计划执行新生产计划解决执行中的按期完成生产计划问题交付生产报告审核资料资料存档存档1.4.1 生产计划控制流程部门生产总监生产部生产车间生产班组步骤分解生产计划接收生产计划分配生产分配生产作业接收生产指令作业进行生产作业收集分析生产信编制生产报表提供生产数据收集息分析生产核算生产作业信息对比实际产量与生产计划无偏差处理生产有信息制定纠正报告审批执行纠正措施制定纠正报告组织制定纠正措施制定纠正进行生产措施并予执行1.5.1 生产计划变更流程部门生产总监生产部生产车间生产班组相关部门步骤接受接受请求并评估发送变更请求发送变更请求变更请求审核编制更改报告并予评估不同同意编制生产计划意更改通知单编制变更通知接收更改通知单接收更改通知单下达更改通知单并予下发审核审阅进行生产调整根据更改要求进行调整相关记录调整资料部门进行调整组织生产调整根据执行新指令变更要求进行进行正常生产生产2.1.1 采购计划编制流程部门总经理生产副总财务部采购部相关部门步骤提供生产计划收集分析提供库存报表提供库存报表物料需求分析、计划用料需要分析历史数据编制采购编制采购清单预算审批审批审核编制采购预算核定供应商编制采购计划审批审批编制采购计划编制采购进度计划实施采购计划实施采购计划2.1.2 采购预算编制流程部门总经理财务部采购部相关部门步骤提供生产计划编制物料提供库存报表提供物料仓储报表采购清单制订供应商认证计划预算收集、分析历史资料支持编制及市场、财务需求准备工作进行资料汇总并计划预算额度编制预算草案编制预算草案进行讨论、综合平衡确定预算余量额度编制采购预算资料存档审批审核编制采购预算2.2.1 采购合同签订流程部门总经理法律顾问采购部相关部门供应商步骤实施采购计划发布采购信息发布采购信息调查供应商信息选择合适评价供应商的供应商审核编制供应商名单与供应商谈判采购谈判采购合同谈判选择供应商审批审核草拟合同评审合同采购合同拟定修订合同签订采购签订合同签订合同合同存档2.2.2 采购合同执行流程部门相关部门采购部供应商步骤选择供应商拟定采购合同签订采购合同协助拟定采购合同协助签订合同发出采购订单接收采购订单跟踪采购订单准备相关物料组织验收货物发货配合有问题执行协助解决物料采购没合同问题办理付款手续签订合同收款开具发票签订合同资料存档2.3.1 工厂采购管理流程部门总经理主管副总财务部采购部相关部门步骤接收申请申请物料采购接收采购需求收集相关资料确定采购计划内容制订采购计划编制物料采购计划批准审核选择合适供应商进行谈判编写采购合同批准审核实施采购计划发出订货单签订采购合同跟踪订单接收货物物料验收货款申请办理货款批准审核确认给付办理物料货款2.3.2 采购决策管理流程部门总经理主管副总采购部相关部门步骤接收申请申购物料确定计算最经济采购量采购数量编制采购清单审核供应商的选取认证确定采购对象编制合格供应商名单批准审核分析安全库存提供资料确定收集分析历史资料采购时间确定采购时间将采购物料分类确定采购类型选择合适采购类型与供应商谈判确定提供支持采购价格确定采购批准审核价格编制采购方案进行采购3.1.1 生产设备选购流程部门总经理主管副总采购部相关部门供应商步骤接收并确认需求提出设备需求确认设备采购编制采购单批准审核需求选择设备选择所需设备询价设备以及厂商选择供应商批准审核进行设备评估签订采购合同批准审核拟写采购合同签订采购合同执行采购合同支付设备款收款安排接收发货验收验收设备安装使用设备设备安装调试使用设备进行质量跟踪进行采购评估评估设备购买绩效3.2.1 设备安装工作流程部门总经理采购部设备部设备安装人员步骤索要设备资料收集设备相关资料进行设备编制设备安装计划审批安装准备工作组织执行安装计划安装基础施工接收设备开箱检查设备将设备分类安装设备基础进行设备安装工作将设备定位校正设备的水平校正设备的精度将设备各部件连接并安装辅助部件验收设备设备试车设备安装批准验收编制设备验收报告进行设备管理工作3.3.1 设备保养管理流程部门主管副总生产部相关部门操作人员步骤购入设备协助设备安装调试设备保养了解设备技术资料准备工作划分设备种类编制设备保养规程审批编写设备保养计划审批进行执行设备保养计划使用设备监控设备有协商解决设备故障无设备日常维护填写设备维修记录设备定期维护填写设备保养记录汇总资料汇总设备保养资料完善计划完善设备保养计划3.3.2 设备点检管理流程部门主管副总设备管理部设备管理员设备操作员步骤收集资料制度编制设备点检标准审批审核点检标准计划编制点检计划审批组织实施点检计划指导实施点检计划设备的日常点检实施点检计划进行点检的记录汇总点检结果上交点检记录审批审核分析点检结果无问题分析有点检结果组织人员维修设备并且采取措施检验维修效果修订点检标准上报新标准审批审核及维修报告资料存档资料存档3.3.3 设备自修管理流程部门主管副总生产部相关部门维修人员步骤收集设备相关信息提供资料编制维修编制维修计划草案提供支持计划并进行平衡编制设备维修计划审批调查设备技术状态进行维修准备编制维修技术文件进行配合审批准备维修工具材料编制维修作业计划审批与生产车间进行设备交接进行设备的解体检查维修施工购买临时部件申请临时部件设备验收进行设备维修设备维修验收与生产车间进行设备交接财务部处理账务填制维修记录3.3.4 设备外修管理流程部门主管副总采购部生产车间供应商步骤发现设备故障编制接收确认信息上报设备故障维修计划调查设备资料编制设备处理方案审批确认设备信息联系生产厂商进行维修派出维修人员准备检查设备进行配合进行维修更换零部件施工否编制维修作业计划审批保修期内是购买零部件进行设备维修组织人员验收填制维修记录验收编制设备外修报告填写维修记录审批设备通知财务进行财务核算与处理3.4.1 设备备件管理流程部门主管副总仓储部采购部设备管理部生产部步骤编制提供备件仓储报表收集资料设备备件计划编制备件计划批准执行备件计划进行外购自制批准备件编制采购计划接收技术文件寻求供应商安排生产备件签订合同发出订购单安排质量验收接收备件并入库备件入库审核办理入库设备备件仓储登记备件台帐备件分类仓储编制备件报表接收报表资料存档资料存档3.5.1 设备报废管理流程部门总经理主管副总财务部设备管理部生产车间步骤接收提出设备接受设备报废申请设备报废申请报废申请查找设备资料检测设备检测确认设备报废设备批准审核编写设备报废报告执行设备报废移交设备执行设备接收设备报废进行处理编写处理报告批准审核登记进行账务处理档案登记档案并封存4.1.1 技术设计管理流程部门技术副总专家委员会技术部相关部门步骤收集资料制定技术设计方案初步设计审批论证出具设计方案图纸正式出图技术设计方案组织执行试执行的试执行讨论需要修订设计汇总并分析问题发现问题审批修改设计与图纸提供资料技术论证审批设计方案的改进与执行正式出图组织执行正式执行4.1.2 技术方案评价流程部门总经理技术副总专家委员会技术部相关部门步骤研究分析提出分析评价对象评价对象提出分析评价对象筛选分析提出意见评价对象选出正式分析审批审批评价对象收集整理协助配合相关资料分析评价因素确定主要审批协助配合评价因素分析主要评价因素进行评价提出意见审批方案评价抉择根据评价进行抉择4.1.3 技术引进管理流程部门董事会总经理技术副总技术部相关部门步骤国内外技术提出技术需求国内市场调研外技术市场调编制技术市场审批审核研与前景报告报告进行引进协助准备工作技术引进准备引进技术费用预算与审批审批审核审批与引进单位初步洽谈洽谈签订引进单位洽谈合同审批审批审核合同条款并引进技术正式引进签订技术正式合同引进技术的消化与吸收技术资料整理引进技术资料整理4.1.4 新产品技术准备流程部门总经理技术副总技术部产品设计部步骤收集产品试产前期提供新产品产品的准备资料相关资料资料仪器测试样机与仪器样机的准备与测试时间和制造成本估算测试制作临时测试程序审批完成测试程序新产品评估与评估新产品结构与装配工艺编排评估并优化新产品工艺估算工时与费用新产品的编排生产工艺和操作程序试产编制生产流程图审批新产品试产协助试产NG 问题收集与反馈OK 提交试产报告审批评审与改进计划改进生产流程改进生产流程审批并予投产新产品量产4.1.5 技术改造管理流程部门董事会总经理专家委员会技改评审小组相关部门步骤提出技改项目建议技改项目立项技术调研与可行性分析项目可行性立项评审分析技改立项并拟定项目技改方案方案的拟审批审核定与评估论证审批正式交付技实施改方案技改项目技改项目监督实施实施进行项目竣工审批审批审核验收评估技术项目验收技术资料与整理评估资料存档4.2.1 工艺技术管理流程部门总经理技术副总专家委员会技术部生产部步骤提交新产品内部论证审批审核工艺方案或方案创新方案审批编制具体实施计划编制审批审核审批实施计划组织实施试运行Y 发现问题解决问题确认解决问题试运 N 行与问题继续运行解决验收、控制确认解决问题审批审核和检查完善完善技术文件工艺文件并予交付交付生产组织生产生产4.2.2 新产品工艺准备流程部门总经理技术副总专家委员会技术部相关部门步骤参与产品开发市场调研产品设计工艺产品设计分析的工艺分析与审查产品设计的工艺审查制定编写工艺方案评估论证审批审批工艺方案并设计进行工艺设计工艺编写审批审批工艺规程编写工艺规程确定工艺装备工艺技术总结确定工艺装备编制审批审批工艺文件并予总结资料存档4.2.3 工艺标准制定流程部门总经理技术副总专家委员会技术部相关部门步骤拟定草案补充意见提供资料工艺完善草案标准拟定与拟定标准审批形成标准论证审批审核正式成文组织执行执行工艺标准讨论是否需要的试反映问题发现问题审批修订标准执行准备资料提供资料修订标准改善工艺论证形成标准审批审批的标准并执行正式成文继续执行4.2.4 生产工艺设计流程部门总经理技术副总专家委员会技术部相关部门步骤工艺编写工艺技术审批审批任务书初步设计的编工艺设计写与审批评估论证审批审批交付新工艺使用新工艺技术文件试制产品以新工艺试制产品未通过未通过未通过未通过审批审核评审鉴定通过通过通过通过产品产品入市入市检验不好市场反应良好以新工艺技术工艺总结投产4.2.5 工艺改造工作流程部门总经理技术副总专家委员会技术部相关部门步骤编制现有工艺提出工艺分析研究改良要求改进计划编制工艺评估论证审批审批改进方案评估并实施组织实施工艺使用改进后工改进方案艺生产产品改进计划试运行以改进工从产品的结艺进协助构测试工艺行试的改造质量运行测试未通过判断未通过未通过审批审批审批之后组织生产通过通过通过组织生产4.2.6 车间工艺管理流程部门生产副总专家委员会技术部生产车间人力资源部步骤交付工艺文件工艺操作培训协助依据工艺按工艺规程规程生产作业进行生产工艺记录工艺检查发现问题工艺继续生产检查后的结果处理制定修正方案对不合格品进行与预防措施标识和控制完善工艺文件再次交付审核意见并进提出工艺审批评估论证行可行性分析更改意见按更改后的工艺更改工艺文件文件进行生产4.3.1 工艺文件编制流程部门总经理技术副总专家委员会技术部相关部门步骤产品设计与归纳整理相关说明的资料工艺资料工艺方案拟定工艺方案工艺检查拟定改进工艺方案审批审批工艺文件确定工艺方案的编制与审批审批审批编写工艺文件交付工艺文件试产工艺试产跟踪试产评估与监督问题与客户建议整理、讨论工艺文件工艺变更审批审批审批的修改与定稿工艺文件定稿5.1.1 生产质量管理流程部门总经理主管副总质量管理部生产部相关部门步骤制定检验标准审批审批制定检验标准执行检验标准检验原材料检验退换货处理合格原材料原材料入库编写工艺文件制程检验检验制程质量处理合格继续生产检验产成品产成品检验返工合格报废或降价入库数据汇总分析审批审批报告与报告与标准的修订修订检验标准5.1.2 质量标准制定流程部门总经理主管副总质量管理部生产部步骤调查收集资料配合拟定质量标准拟定标准草案审核补充完善标准审批审核质量形成标准标准审批执行公布并组织执行执行发现问题汇总与分析问题问题分析研究讨论是否合格修订标准准备资料提供资料修订修订标准审批审批并执行新标准执行组织执行5.2.1 试制过程质量管理流程部门总经理主管副总质量管理部设计部生产部步骤市场调查与科技发展信息资确定料收集设计试制过程拟定检验标准审批审批检验标准确定检验标准产品开发方案新产品开发过审批审批组织方案论证程审查确定设计方案试制过程与试制产品的试制编制技术文件试制过程监督试制产品检验成本费用控制分析提交检验报告审批审批提交检验报告改善检验标准完善检验标准5.3.1 原材料质量管理流程部门总经理主管副总质量管理部生产部仓储部步骤制定制定原材料审批审核检验标准原材料的检验确定并颁布原材料检验标准标准接收进料信息收料通知进料检验进料检验退换货处理合格库存原材料入库监督领用库存处理检验发现的生产不合格品不合格原材料检查审查物料质量问题物料质量分析审批审核完善并报告原材料的检验完善原材料的检验标准标准5.4.1 生产过程质量管理流程部门总经理主管副总质量管理部生产部技术部步骤生产过程检验准备常规检查常规检查协助发现问题限时整改整改整改反馈复检与复查问题审批审核填写检验报告继续生产重大精确检验问题发现及讨发现重大问题论与评估召开会议讨论审批审核制定措施问题解决限期整改整改重新编制编制检验报告审批审核检验工作报告产品设计与工艺更新5.4.2 半成品质量管理流程部门总经理主管副总质量管理部生产部步骤明确半成品检验规定半成品的确定半成品检验标准抽样检验半成品抽样检验合格进入下一道工序合格不合格不合格分析不合格品的分析与编制检验报告报告审核不合提出处理意见格品处理审批下发不合格半成执行品处理通知5.4.3 质量改进工作流程部门总经理主管副总质量管理部相关部门步骤编制质量管理审批审核制度组织实施执行确定质量改进确定质量改进目标课题汇总质量信息配合并整理分析确定质量改进审核目标编制质量改进计划审核审核编制实施质量改进执行计划实施质量改进检查质量改进计划效果效果好差修订质量改进执行计划质量编制质量改进审批审核评估报告改进评估资料存档5.4.4 质量统计管理流程部门总经理主管副总质量管理部生产部步骤汇总质量日报表质量日报表与分析质量月报表月度报告编制月质量报告审批审核发布报告接收分析质量季报表质量季度报告审核审核季度质量报告发布报告接收质量审批审核年度质量年报告质量年报表报告发布报告修订质量管理改进执行制度质量管理工作改善质量管理配合工作5.5.1 产成品质量管理流程部门总经理主管副总质量管理部生产部步骤明确产成品产成品自检检验规定产成品的选择合适的申请检验审批检验检验方案检验发现问题审核是否返工发现问题并是予以限期整改处理否签“不合格” 整改审核重大发现重大问题进行处理问题讨论研究会议讨论明确原因审批审核并制定措施问题纠正组织执行执行5.6.1 不合格品处理管理流程部门总经理主管副总质量管理部生产部步骤检验检验不合格品审批并签发不合格品通签“不合格品” 接收知单是否销毁审核审核是确定销毁执行否研究处理措施协助不合格品处理审批审核制定处理措施组织执行执行检查反馈编写处理报告编写处理报告审批审核填写质量报表填写质量报表6.2.1 6Sigma推行流程部门总经理主管副总推行委员会项目小组员工步骤召集人员开会确定6Sigma 审批推进委员会成员推行6Sigma接受培训确定黑带接受培训确定6Sigma KPI指标辨别关键客户确定客户需要评估目前绩效审批审核确定实施项目对项目进行定义提供意见实施评估项目审核 6Sigma 管理分析项目组织项目改进实施改进总结编制实施报告审核审批审核并持续项目持续改进改进扩展到其他项目6.2.2 6Sigma管理实施流程部门 6Sigma推行委员会 6Sigma项目实施小组员工步骤收集选定项目资料配合工作项目定义审批编制项目章程了解、记录客户的意见收集、记录项目现有流程确定项目的主要流程项目评估配合工作寻找项目产生问题的原因确定项目的分析方式审批项目对相关数据进行分析分析对项目流程进行分析编制项目解决方案审核项目组织实施6Sigma项目执行6Sigma项目具体工作实施进行项目评估审批制定改进措施改进推广组织进行改进执行6Sigma项目改进措施推广至其他项目6.3.1 准时生产转换流程。
公司生产经营流程图

公 司 生 产 经 营 管 理 流 程 图公 司 生 产 经 营 管 理 流 程 图 说 明一、设计部门根据公司销售合同设计该销售合同的项目结构图、图号、结构件的规格型号,设计结构图完成后提交生产部门;二、生产部门根据项目结构图汇总编制对应的物料清单,编制完成后提交财务、采购部门;三、采购部根据生产部送交的物料清单,对该物料清单上的材料进行分类汇总,通过各家供应商的报价及我方询价情况编制并与供应商订立采购合同;采购人员在订立采购合同后根据采购合同在公司采购系统中做采购订单,“采购订单”完成后,采购人员把“采购订单号”填写在采购合同上;采购部门负责审核的人员在采购系统中对采购订单进行相应的审核,同时向公司财务部提供一份相对应的带有“采购订单号”的采购合同;四、供应商根据双方订立的采购合同向我公司提供符合采购合同规定的材料;2供应商送货时,需在送货单上填上相应的“采购订单号”; 供应商开增值税发票时,在发票右下角的“备注栏”内填上我公司与其签订合同时相对应的“采购订单号”;4供应商开的是普通发票的,在发票右上角用铅笔填上我公司与其签订合同时相对应的“采购订单号”;提高双方的对账效率和结算速度。
五、质检部门根据材料的性质进行相应的检验,经质检不符合采购合同规定的,退货;经质检材料符合采购合同标准的,通知仓库办理收货及入库手续;六、根据采购订单、物料清单及供应商的送货单点验数量,办理入库并在送货单上签字确认;验收完毕,在公司采购系统中对相应的采购订单做外购入库处理,并打印外购入库单;打印完毕后,将外购入库单的财务联、采购联(即第一联与第二联)及送货单原件送交采购部门,七、采购部门相关人员收到仓库部门送来的外购入库单及供应商的送货清单后在公司采购系统中对与之对应的外购入库单进行审核;审核无误的,将外购入库单财务联(第一联)与供应商送货单一起粘贴在报销单上,送交财务部材料会计处;八、材料会计根据采购部门提交的外购入库单与相对应的供应商合同进行复核,无误的进行暂估入库处理;发票回来也一并进行相应的会计处理;具体会计分录如下:借:原材料-暂估入库 XX元 借:原材料-暂估入库 XX元(红字)贷:应付账款-XX供应商 XX元 贷:应付账款-XX供应商 XX元(红字)借:原材料-发票上材料金额 XX元(蓝字)应交税金—应交增值税-进项税 XX元(蓝字)贷:应付账款-XX供应商 XX元(蓝字价税合计)九、车间根据生产部门安排的生产计划,根据具体的销售合同到仓库领取相应的原材料,进行相应的生产;生产完毕的产品,办理相应的入库手续;十、仓库根据车间的领料及产品的完成情况,在公司仓库系统中做相对应的领料手续及产品入库手续;并打印相对应的领料单据及产品入库单据;然后送交成本会计处;十一、成本会计根据车间提交的领料单据及产品入库单据,进行相应的会计处理,具体会计分录如下:借:生产成本-销售合同号 XX元 借:库存商品-销售合同号 XX元 贷:原材料 XX元 贷:生产成本-销售合同号 XX元十二、传动部及自动化部出差的费用,能够分清具体销售合同项目的,具体会计分录如下:不能够购分清具体销售合同项目的;具体会计分录如下:借:生产成本-销售合同号 XX元 借:制造费用-调试费(部门、职员 ) XX元贷:现金/其他应收款 XX元 贷:现金/其他应收款 XX元十三、市场部报销的运费发票,能够分清出销售合同项目的,具体会计分录如下:不能够购分清具体销售合同项目的;具体会计分录如下:借:生产成本-销售合同号 XX元 借:营业费用-运费(部门、职员 ) XX元贷:现金/其他应收款 XX元 贷:现金/其他应收款 XX元十四、销售部门根据公司与客户签订的销售合同,在公司销售系统中做销售订单,经部门负责审核的人审核后,予以保存并审核;同时将与之相对应的销售合同提交财务部门销售会计一份;销售合同中规定的产品车间生产完成后,销售部到仓库办理出库及发货手续;市场部相关人员发货完毕时,应于当天或者次日(双休日发货的于下周一)向财务部提交相对应的“发货单”;货物到现场验收后,由业主在公司的“验收单”上签字验收,市场部收到“验收单”后,由市场部提交验收单的复印件给公司财务部十五、财务部成本会计根据每月车间统计人员统计的生产工时及车间销售合同的生产数量,按各个销售合同工时占总工时的比例分配制造费用,具体会计分录如下:借:生产成本-销售合同号 XX元贷:制造费用-明细科目 XX元十六、根据公司客户的要求,开具发票的,财务部销售会计进行相应的收入及成本结转,具体会计分录如下:借:应收账款/预收账款-客户名称 XX元(价税合计) 借:主营业务成本—销售合同号 XX元 贷:主营业务收入—销售合同号 XX元(发票不含税价) 贷:库存商品—销售合同号 XX元 应交税金—应交增值税—销项税 XX元 (根据开票收入占总收入的比例分摊成本)。
生产工厂流程图WPS文字文档
生产管理流程图一、生产整体流程图:(图一)从图中明显的体现出原材料进入车间正式生产的过程是复杂的,步骤之多;从业务部接到定单直到车间生产直至后整车间包装下货,期间需要协调的的部门有技术部、计划理单部、品控部、采购部、仓库、裁床等部门。
产前准备:当业务部接到订单后快速下达到各部门1、计划部需进行货期安排及继续与客户交流生产要求,理单部门应对下单要求计算出改款式所需生产辅料的数量,并及时补齐辅料,或通知采购部进行采购,最后入库以备生产需求。
2、技术部根据制单要求生产出产前样、打版、排唛袈、制定工价,进行技术分解,发放制单及样裤到相应部门,在生产过程中起技术、质量监督。
3、裁床为车间提供生产原材料,也就是说是车间生产的质量第一关,为防止生产过程中出现裁片大小不一、遗漏或丢失、缩水、色差等问题,裁床接到制单后,应依严格据制单要求,到仓库认领生产原材料;开裁时应根据制单要求松布时间松布,唛袈要求裁剪大小;编号、绑票应清晰明了;送去绣、印花要及时并严格要求期间所用时间,以免影响整体生产进度;验片员应严格要求,验片过程中应如有出现问题应及时提出来;裁片交接员定要轻点交接裁片数量并做记录。
4、辅料室接到制单时,应及时到仓库领好生产所需辅料做好产前准备,跟踪车间生产辅料需求,做好记录,应配合理单部、仓库及时上报或领取辅料,尽量避免应辅料欠缺从而导致车间停产货期延误。
5、品控部,从布料进仓验布—裁床—车间生产—洗水厂—后整车间,对生产质量的监督起的重大的作用,布料质量的把控,生产过程中质量的把控,成品抽检,洗水跟踪,成品进仓,环环相扣;召开产前会议的重要性,根据制单要求,对样裤技术分析,生产细节要求,对各组产前样的检验;为加强生产质量的提高,应定期召开各组检验员会议或培训以加强提高检验员的素质、技能,了解质量对生产的重要性,为生产的第一要素,能更好的把控质量;为更好的加强提高生产质量,品控部所产开的质量评比应秉着公开、公正、公平的原则,多方面的评比,出现问题应及时指出并纠正,奖惩分明,有效的提高了生产质量。
(管理流程图)工程部工作流程图
工程部工作流程图第一章:工长岗位规范直属上级:工程部经理直属下级:各工种工人能力要求:1、组织施工能力。
2、解决施工质量问题能力。
岗位职责:1.组织现场施工,对施工部分的工程质量负全责。
2.组织施工现场技术交底。
3.协调施工现场各工种施工。
4.维持施工现场秩序。
5.协调客户关系。
催缴工程款。
6.立足本岗位工作,提出合理化建议。
工作流程:1.接受工作任务,领取施工文件(施工图纸,预算等)。
2.根据预定工期做出施工进度计划,上报工程部经理。
3.协助工程监理组织现场技术交底:1)联系设计师确认确切交底时间。
如因客户原因变更交底时间,设计师应及时与监理取得联系,明确变更后的时间,如有延误,设计师应承担责任。
乙方不得主动提出变更交底时间的要求。
2)勘查施工现场的结构及施工面层等情况。
发现轻度质量问题(包括原有防水层)须及时向设计师和客户提出,并提出相应技术处理意见。
3)对原建筑质量问题严重或可能影响装修施工的,建议业主要求物业管理部门对建筑原有的质量问题采取处理措施,直至符合装修施工条件为止。
对此,监理应同客户协商工程延期,并办理延期手续。
4)与客户进行沟通、交流(包括互换通讯方法)。
向客户说明并介绍公司在施工管理、质检、交款、服务等方面的规定。
征询客户意见,了解客户需求;协助客户与物业管理部门办理好开工前的必备手续;5)与客户约订好材料进场验收时间或下次见面的时间地点等。
6)与客户确认水电改造项目及增减项目。
7)根据图纸、预算,结合施工现场情况,评估设计人员的交底是否详实、准确,相关技术处理是否恰当,对有误之处予以说明,由设计师处理设计变更。
8)工程监理、设计师、工长、客户共同填写技术交底表,24小时内由监理将交底表交到工程部。
4.遵照公司有关施工现场文明施工规定,布置施工现场,组织施工。
5.材料进场验收:填写相应表格,签字。
6.隐蔽工程验收:填写相应表格,签字。
7.工程中期验收:填写相应表格,签字。
8.竣工验收:填写相应表格,签字。
公司生产订单管理流程图
公司生产订单管理流程1.目的加强公司生产订单流程管理,体现从销售到生产环节的无缝衔接,实现产品生产过程安全、高效、低耗、按期交货。
2.适应范围:适用于青岛红福麟自动化设备有限公司。
3.流程管理层3.1订单评审管理流程3.1.1该流程由销售部组织公司生产技术、质检、生产部对订单进行技术评审,提出处理意见。
3.1.2对能满足客户(合同)要求的一般订单准备技术、原材料预案,对技术偏离较大的特殊订单由销售部和客户进行沟通,达成处理意见,由销售部报请公司领导签批。
3.1.5流程图(图1)销售部生产部生产技术3.1.6工作节点和部门分工订单评审管理流程执行说明3.2订单协调管理流程3.2.1该流程由公司生产调度组织生产技术、质检、采购部,根据客户提出的特殊技术要求,进行配方和工艺结构的调整。
(针对特殊订单)3.2.2调整后的配置和工艺结构方案,由公司生产调度会同生产生产技术、质检、采购部意见,整理后通知销售部。
3.2.3销售部得到客户同意后签订合同,下单执行。
3.2.3.1需要进行产品试制的,由生产技术牵头生产部协助实施。
3.2.3.2只做配置调整变化的,由生产调度下达《订单通知书》,进入《订单作业进度管理流程》。
3.2.4流程图销售部生产技术生产部采购部采购质检3.2.5工作节点及部门分工订单协调管理流程说明3.3.订单作业进度管理流程3.3.1本流程主要节点是对前两个流程的跟进。
3.3.2生产部根据接收《订单通知书》3.3.2.1一般订单3.3.2.1.1启动生产正常流程,纳入生产体系管理3.3.2.2.2生产进度计划以周计划化形式上报公司生产调度3.3.2.2特殊订单3.3.2.2.1制定生产工艺,编制技术规程。
3.3.2.2.2制定产品原材料、半成品、产成品检验标准、检验方法。
3.3.2.2.3安排生产计划。
检查生产设备状况。
3.3.2.2.4查看材料库存,编写材料购进表,交采购部备料。
3.3.2.2.5协调人员,组织进行产品生产。
公司管理流程图大全
公司管理流程图大全
岗位设置管理流程
2
·人员编制管理流程
4
·
增加编制申请流程
6
·用人申请流程
8
·公司内部招聘流程
10
·公司外部招聘流程
12
·
新员工入职流程
14
·劳动合同管理流程
16
·
新员工试用期满转正流程
18
·
岗位轮换流程
20
·
员工工作调动流程
22
·
职务任命流程
24
·
考勤管理流程
26
·员工加班申请流程
28
·员工请假管理流程
30
·员工出差管理流程
32
·绩效管理工作流程
34
·员工绩效考核流程
36
·薪酬方案审批流程
38
·工资发放流程
40
·员工奖励流程
42
员工申诉流程
44
·培训管理总体流程
46
·培训计划流程
48
·培训方案制定流程
50。
- 1、下载文档前请自行甄别文档内容的完整性,平台不提供额外的编辑、内容补充、找答案等附加服务。
- 2、"仅部分预览"的文档,不可在线预览部分如存在完整性等问题,可反馈申请退款(可完整预览的文档不适用该条件!)。
- 3、如文档侵犯您的权益,请联系客服反馈,我们会尽快为您处理(人工客服工作时间:9:00-18:30)。
下单日期 2016/1/19 2016/1/7 2016/1/6 2016/1/5 2016/3/28
送货日期
客户名称 长兴中学
联系人 陈
联系电话
金额Leabharlann 合同 扫描件采购单 √ √
验收表 送货单
销售员
跟单 陈盼 陈盼 陈盼 陈盼
已收款
未收款
5802 258921 102320 61500 43593 54814 13170
袁经理 黄胜坚
2093 11217 19950 285 2079 9850 173.5 1650 54398 3390 8700 17992 138600 3130 3336 29649 399228
2016/5/23 2016/4/28
天一庄幼儿园 天河区第一实验小学 广州市开发区员工服务中心 广州市开发区员工服务中心 广州市财政局
南粤银行 天河区高塘石小学
2016/8/1
猎德实验学校 侨乐小学 交通学院
HT20160725-071 AL20160727-072
AL20160715-067/068
2016/7/25 2016/7/27 2015/7/15
2016/8/25
猎德幼儿园 五山小学
13755 97649 233244
2016/6/6 2016/6/15 2016/6/15 2016/6/21
南粤银行保利中心 天河区侨乐小学 培英中学 天河区华成小学 广州市培英中学
138600 13711255772 3130 4995 3336 29649 399228
2016/7/8 2016/7/8 2016/7/11
2016/7/20
2016/8/17 2016/8/18 2016/8/19 2016/8/19 2016/8/30 2016/8/22 2016/9/9 2016/9/5 2016/9/15 2016/8/27 2016/8/29 2016/9/16 2016/9/18 2016/10/15
体育东小学 春田幼儿园 美好居幼儿园 侨乐小学 翠湖幼儿园 广州开发区投资促进局 先烈东小学 翠湖幼儿园 侨乐小学 清荷幼儿园
2988 31823
4480 扫描件
2988 31823
4480
√ √ √ √
3175
钟老师 18027263134 2200 2775 5740 潘老师 17727750173
3175
5740
3324
4000
文档
√ √
吕晓 吕晓 4000
AL20160902-112 AL20160912-120 AL20160919-131
梁主任
15322359666
181996
√ √ 扫描件 √ √
陈盼 陈盼 陈盼 陈盼 陈盼 陈盼 黄海生 黄海生 黄海生 陈盼 陈盼 陈盼 吕慧 吕慧 吕慧 吕慧 吕慧 吕慧 吕慧 吕慧 吕慧 吕慧 吕慧 吕慧 吕慧 吕晓 吕晓 吕晓 吕晓
181996
39006 83866
彭老师 廖老师 张主任 13430207658 15112088000 13560394049 7000 4278 790 79465 4000 2800
3876
5802 258921 102320 61500 43593 52073 13170
3876
2016/1/27 2016/1/15 2016/1/15
侨乐小学 天河区五山小学 天河区五山小学 天河中学猎德实验学校 南粤银行小微支行
文档 文档 扫描件
√ √ √ 蒋龙飞
陈盼 陈盼
家具保管清单 √ √ 扫描件 √ √ √ √ 扫描件 √ √ √ √ √ √ √ 扫描件 扫描件 √ √ √ 文档 √ √ √ 文档 √ 陈志铿
83866
7000
√ 79465 4000 2800
7482
段老师 13168381435
扫描件
√ √ √ √
7482
71757 72571
10777 19030 1420 6374 17710 文档
10777
√ √ √ √ √ √ √ √
1420 6374 17710
5478
3394
5478
3394
42618 42622
42633
龙岗路小学 吉山小学 五山小学
2800 8925 1100
√ √ √
吕晓 吕晓 吕晓
2800 8925 1100
未收款原因(什么 时候能收回)
27632 148457 陈康炎 13527619768 118762 4378 樊主任 15920100818 63780 9308 26528
扫描件 扫描件
√ √ √
陈盼 陈盼 陈盼 黄海生 陈盼 陈盼 陈盼 陈盼 黄海生 陈盼 陈盼 陈盼 陈盼 陈盼 陈盼
13755 97649
233244 27632
1653 4100 176387
183185 23850 15000 10980
1653 4100
2016/9/5
天府幼儿园 元岗路小学 南粤银行南沙分行 南粤银行惠州分行
陈盼 陈盼 陈盼 陈盼 陈盼 陈盼 23850 15000
2016/10/15
2016/11/3
元岗路小学 华南理工大
AL20161015-148 AL20161026-152
2016/11/8
2016/11/30
南粤银行长沙分行营业部 八一希望学校
259890 39510
39510
AL20161027-155 AL20161104-159 AL20161107-161 AL20161128-171 AL20161220-186 AL20161222-187 AL20160816-091 AL20160830-108 AL20160902-112 AL20161013-146 AL20161207-180 AL20161201-175 AL20161009-143 AL20161020-149 AL20160905-116 AL20160912-122 AL20160918-126 AL20160919-132 AL20160923-135 AL20160926-137 AL20160928-139 AL20161024-150 AL20161110-163 AL20161110-164 AL20161122-166 AL20161124-169 AL20161206-178 AL20160830-108 2016/12/12 2016/11/23 2016/12/7 42618 42633 2017/1/4 2016/10/24 2016/11/24 2016/9/9 2016/10/9 2016/12/8 2016/1/3 2016/12/7 12月20号 12月22号 2016/12/20 1月4号 12月26号 2016/11/8 2016/11/30
39646
8300
扫描件 扫描件
√ √
8300
2376 5346 3100
188027 725 1790 12900 √ √ √ √ √ √ √ √ 陈盼 √ √ √ √ 文档 扫描件 √ √ 黄海生 黄海生
2376 5346
188027 725
陈盼 陈盼 陈盼 陈盼 陈盼 陈盼 陈盼
1790 12900
合同号 HT20160119-004 XD20151211-088 XD20151217-085 XD20151218-086 HT20160330-011 XD20140812056 XD20160304017 HT20160407-012 HT20160412-015 XD20160412-028 HT20160418-016 HT20160523-039 HT20160428-017 XD20160510-034 XD20160510-036 HT20160604-021 XD20160602-043 XD20160615-046 XD20160615-047 XD20160620-049 XD20160624-045 AL20160706-060 AL20160707-062 AL20160709-057 AL20160712-052 AL20160722-070
AL20161026-151 154
扫描件 扫描件 扫描件 扫描件 扫描件 扫描件
√ √ √ √ √ √ √
2016/8/16 2016/8/11 2016/8/20
2016/8/27 2016/8/15 2016/8/31
吉山小学 猎德幼儿园 龙洞小学 南粤银行惠州分行
118762 4378
9308 26528
2016/3/4 2016/4/7 2016/4/22
2016/3/15广东南粤银行长沙南湖新城支行 云景培英中学 2016/5/10 天河中学猎德实验学校 南粤银行 21中学
陈盼 陈盼 陈盼 陈盼 陈盼 陈盼 陈盼 陈盼 陈盼 陈盼 陈盼 陈盼 陈盼 陈盼 陈盼 陈盼 陈盼 陈盼 陈盼 陈盼
2093 11217 19950 285 2079 9850 173.5 1650 54398 3390 8700 17992 黄伟进
2015/8/10
培英中学 天府路小学 南粤银行(环市东支行)
AL20160802-079 AL20160805-082 AL20160810-086 HT20160811-088 AL20160815-090 AL20160816-093 AL20160817-094 AL20160818-096 AL20160818-097 AL20160819-098 AL20160829-107 AL20160822100 AL20160823-102 AL201600907-119 AL20160911-111 AL20160905-115 AL20160923-136 AL20160905117 AL20160914-123 AL20161010-144 AL20161013-145 AL20161013-147