信号系统实验11
信号与系统奥本海姆第4版11章答案

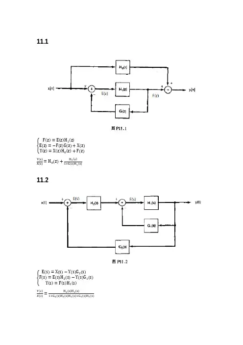
=
H2 (s)H1 (s) 1+G2 (s)H2 (s)H1 (s)+G1 (s)H1 (s)
11.3
Q(s) = 1+������(������)������(������) =
������(������)
1 ������−1 1 1+ (������−������) ������−1
虚部为 0,有:−4ω + 4ω3 = 0➔ω = 0, ±1 Gk (j0) = K 或Gk (±j) = −
K 4
∵p=0 ∴要稳定,即 Z=0,必有 R=0 ∴ K > −1&− > −1
4 K
∴ 4 > K > −1
11.18
G(ejω )H(ejω ) = ej3ω G(ejω )H(ejω )|ω=0,2π,4π,6π = 1
= ������ ������−1 (������+1)
������ ������ −1
有一个极点在单位圆上,所以不稳定
11.7
������������ ������������
= −2������ − 5 = 0 => ������ = − 2
5
(分支点)
对于 K>0 稳定,对于 K<0,s≤-3 或-2≤s<0 稳定,则 k>-6
������√2+1 ������√2−1 ������2√2−1 −3
=
∠G(jωc )H(jωc ) = tan−1(−2√2) = −70.5287794° 相位裕度为:φm = 180° − 70.5287794° = 109.471221°
信号与系统实验指导书

信号与系统实验指导书电子科技大学通信学院朱学勇潘晔刘斌崔琳莉黄扬洲徐胜目录第一部分信号与系统实验总体介绍 (1)第二部分实验设备介绍 (2)2.1信号与系统实验板的介绍 (2)2.2PC机端信号与系统实验软件介绍 (5)2.3实验系统快速入门 (6)第三部分信号与系统硬件实验 (8)实验项目一:线性时不变系统的脉冲响应 (8)实验项目二:连续周期信号的分解与合成 (12)实验项目三:连续系统的幅频特性 (17)实验项目四:连续信号的采样和恢复 (21)第四部分信号与系统软件实验 (28)实验项目五:表示信号与系统的MATLAB函数、工具箱 (28)实验项目六:离散系统的冲激响应、卷积和 (34)实验项目七:离散系统的转移函数,零、极点分布 (38)第一部分信号与系统实验总体介绍一、信号与系统实验的任务通过本课程的实验,应加深学生对信号与系统的分析方法的掌握和理解,切实增强学生理论联系实际的能力。
二、信号与系统实验简介本课程实验包含硬件、软件共七个实验项目,教师可以选择开出其中某些实验项目。
单套实验设备包括:硬件:信号系统与DSP实验箱、微型计算机(PC);软件:PC机端实验软件SSP.exe、基于MATLAB的仿真实验软件。
三、信号与系统课程适用的专业通信、电子信息类等专业。
四、信号与系统实验涉及的核心知识点线性时不变系统的冲激响应、连续信号的分解及频谱、系统的频率响应特性、采样及恢复、表示信号与系统的MATLAB函数、工具箱、离散系统的冲激响应、卷积和、离散系统的转移函数,零、极点分布等。
五、信号与系统实验的重点与难点连续信号与系统时域、频域分析,离散系统的冲激响应、卷积和,离散系统的转移函数,零、极点分布等。
六、考核方式实验报告。
七、总学时本实验指导书的实验项目共需要14学时。
可供教师选择开出其中某些实验项目以适应不同的学时数要求。
八、教材名称及教材性质A.V.Oppenheim,A.S.Willsky,S.H.Nawab,Signals&Systems,Prentice-Hall,1999九、参考资料1.蒋绍敏,信号与系统实验,电子科技大学通信学院,2000年7月2.梁虹等,信号与系统分析及MA TLAB实现,电子工业出版社,2002年2月3.S.K.Mitra著,孙洪,于翔宇等译,数字信号处理试验指导书(MA TLAB版),电子工业出版社,2005年1月第二部分实验设备介绍信号与系统硬件实验的设备包括:信号与系统实验板、数字信号处理实验箱、PC机端信号与系统实验软件、+5V电源和计算机串口连接线。
《信号与系统》课程实验报告

《信号与系统》课程实验报告《信号与系统》课程实验报告一图1-1 向量表示法仿真图形2.符号运算表示法若一个连续时间信号可用一个符号表达式来表示,则可用ezplot命令来画出该信号的时域波形。
上例可用下面的命令来实现(在命令窗口中输入,每行结束按回车键)。
t=-10:0.5:10;f=sym('sin((pi/4)*t)');ezplot(f,[-16,16]);仿真图形如下:图1-2 符号运算表示法仿真图形三、实验内容利用MATLAB实现信号的时域表示。
三、实验步骤该仿真提供了7种典型连续时间信号。
用鼠标点击图0-3目录界面中的“仿真一”按钮,进入图1-3。
图1-3 “信号的时域表示”仿真界面图1-3所示的是“信号的时域表示”仿真界面。
界面的主体分为两部分:1) 两个轴组成的坐标平面(横轴是时间,纵轴是信号值);2) 界面右侧的控制框。
控制框里主要有波形选择按钮和“返回目录”按钮,点击各波形选择按钮可选择波形,点击“返回目录”按钮可直接回到目录界面。
图1-4 峰值为8V,频率为0.5Hz,相位为180°的正弦信号图1-4所示的是正弦波的参数设置及显示界面。
在这个界面内提供了三个滑动条,改变滑块的位置,滑块上方实时显示滑块位置代表的数值,对应正弦波的三个参数:幅度、频率、相位;坐标平面内实时地显示随参数变化后的波形。
在七种信号中,除抽样函数信号外,对其它六种波形均提供了参数设置。
矩形波信号、指数函数信号、斜坡信号、阶跃信号、锯齿波信号和抽样函数信号的波形分别如图1-5~图1-10所示。
图1-5 峰值为8V,频率为1Hz,占空比为50%的矩形波信号图1-6 衰减指数为2的指数函数信号图1-7 斜率=1的斜坡信号图1-8 幅度为5V,滞后时间为5秒的阶跃信号图1-9 峰值为8V,频率为0.5Hz的锯齿波信号图1-10 抽样函数信号仿真途中,通过对滑动块的控制修改信号的幅度、频率、相位,观察波形的变化。
信号与系统 (11)

它在使用中有一些不便: 1) 不能解决信号动态范围与精度之间的矛盾; 2) 不能解决频率范围与精度之间的矛盾;
波特图采用对数坐标,解决上面的问题。而且它有利 于系统综合。
二、 对数频率特性
假设: H ( jω ) = H ( jω ) e jϕ (ω ) 。对其取对数:
G(ω) = 20log[H ( jω) ]
单位:分贝(Deci-Bel,dB)。 奈培与分贝的转换关系:1 Np = 8.686 dB
在理论分析中,一般使用 Np;在实际应用中,一般使 用 dB
用分贝表示增益,解决了信号动态范围与精度之间的 矛盾。如果在频率坐标中同样使用对数坐标,则同样可以 解决频率的范围与精度之间的矛盾。
这样一来就形成了波特图。
H ( jω)
80dB 10000
60dB 1000
40dB 100
20dB 10
01
0.001 0.01 0.1
1
-20dB
10 100 1000 10000
ω
波特图的横坐标可以用 logω ,也可以用 log f ;
在波特图的横坐标上,一般直接标注频率值;
波特图的横坐标上只能表示 ω > 0 或者 f > 0 频率下
函函
电流传输函数:
数
数
电流 I1(s) 电流 I2(s)
Ti21(s)
=
I2(s) I1(s)
电压传输函数:
电压U1(s) 电压U2 (s)
Tu
21(s)
=
U2(s) U1(s)
三、 H (s) 、 H ( p) 、 H ( jω ) 、 h(t) 之间关系
数字同步技术

实验十一 数字同步技术实验内容1.位定时、位同步提取实验2.信码再生实验3.眼图观察及分析实验4.CPU仿真眼图观察测量实验一. 实验目的1.掌握数字基带信号的传输过程。
2.熟悉位定时产生与提取位同步信号的方法。
3.学会观察眼图及其分析方法。
二. 实验电路工作原理所有数字通信系统能否有效地工作,在相当大的程度上依赖于发端和收端正确地同步。
同步的不良将会导致通信质量的下降,甚至完全不能工作。
通常有三种同步方式:即载波同步、位同步和群同步。
在本实验中主要分析位同步,载波同步和群同步不分析。
实现位同步的方法有多种,但可分为两大类型:一类是外同步法。
另一类是自同步法。
所谓外同步法,就是在发端除了要发送有用的数字信息外,还要专门传送位同步信号,到了接收端得用窄带滤波器或锁相环进行滤波提取出该信号作为位同步之用。
所谓自同步法,就是在发端不专门向收端发送位同步信号,而收端所需要的位同步信号是设法从接收信号中或从解调后的数字基带信号中提取出来。
本实验中,位同步提取的方法是从二相PSK(DPSK)信号中,对解调出的数字基带信息再直接提取恢复出位同步信号。
图11-1是位同步恢复与信码再生电路方框图,图11-2是电原理图。
图11-1 位同步恢复与信码再生电路方框图1.带通滤波与全波整流电路电路如图11-3所示。
设计该电路时,以数字基带码元速率为32KHz/s为例,数字基带信号由测量点TP703输入,经过电解电容E701与电阻R717进入该电路,带通滤波器由U711组成,测量点TP707为眼图测量点,利用二踪示波器的YB通道测量TP304或TP703,YA通道测量TP707时,调节示波器相应的开关与旋钮,就可以测量出眼图信号来。
关于眼图的具体测量在后面再作进一步的介绍。
由运算放大器U711∶C组成全波整流电路。
从图中可知,运算放大器U712(LM311)组成限幅放大电路。
32KHz谐振电路由电阻R731、R732、R722、电容C716、CA701(在电路板上这里为一可插入不同容量的电容作为实验调试,实验值为4700pf)、谐振线圈L701组成。
实验11-验证最大功率传输定理

实验11-验证最大功率传输定理(总3页)-CAL-FENGHAI.-(YICAI)-Company One1-CAL-本页仅作为文档封面,使用请直接删除实验十一 最大功率传输条件测定一、实验目的1. 掌握负载获得最大传输功率的条件。
2. 解电源输出功率与效率的关系。
二、原理说明1. 电源与负载功率的关系图1可视为由一个电源向负载输送电能的模型,R 0可视为电源内阻和传输线路电阻的总和,R L负载R L 上消耗的功率P 可由下式表示: 图1当R L =0或R L =∞ 时,电源输送给负载的功率均为零。
而以不同的R L 值代入上式可求得不同的P 值,其中必有一个R L 值,使负载能从电源处获得最大的功率。
2. 负载获得最大功率的条件根据数学求最大值的方法,令负载功率表达式中的R L 为自变量,P 为应变量,并使 dP/dR L =0,即可求得最大功率传输的条件:当满足R L =R 0时,负载从电源获得的最大功率为:这时,称此电路处于“匹配”工作状态。
3. 匹配电路的特点及应用在电路处于“匹配”状态时,电源本身要消耗一半的功率。
此时电源的效率只有50%。
显然,这对电力系统的能量传输过程是绝对不允许的。
发电机的内阻是很小的,电路传输的最主要指标是要高效率送电,最好是100%的功率均传送给负载。
为此负载电阻应远大于电源的内阻,即不允许运行在匹配状态。
而在电子技术领域里却完全不同。
一般的信号源本身功率较小,且都有较大的内阻。
而负载电阻(如扬声器等)往往是较小的定值,且希望能从电源获得最大的功率输出,而电源的效率往往不予考虑。
通常设法改变负载电阻,或者在信号源与负载之间加阻抗变换器(如音频功放的输出级与扬声器之间的输出变压器),使电路处于工作匹配状态,以使负载能获得最大的输出功率。
三、实验内容与步骤1. 按图2接线,负载R L 取电阻箱。
2. 按表1所列内容,令R L 在0~1K 范围内变化时,分别测出U O 、U L 及I 的值,表中U O ,P O,L LL R R R UR I P 202)(+==[]020240020:0)(2)()()(2)(,0R R R R R R R R R UR R R R RdR dPdR dP L L L L L L L L LL ==+-+++-+==,解得令即LL L L L MAXR U R R U R R R U P 4)2()(2220==+=分别为稳压电源的输出电压和功率,U L 、P L 分别为R L 二端的电压和功率,I 为电路的电流。
实验十一示波器的原理和使用
实验十一 示波器的原理和使用示波器是一种用途广泛的基本电子测量仪器,用它能观察电信号的波形、幅度和频率等电参数。
用双踪示波器还可以测量两个信号之间的时间差,一些性能较好的示波器甚至可以将输入的电信号存储起来以备分析和比较。
在实际应用中凡是能转化为电压信号的电学量和非电学量都可以用示波器来观测。
【实验目的实验目的】】1.了解示波器的基本结构和工作原理,掌握使用示波器和信号发生器的基本方法。
2.学会使用示波器观测电信号波形和电压幅值以及频率。
3.学会使用示波器观察李萨如图并测频率。
【实验原理实验原理】】不论何种型号和规格的示波器都包括了如图2-11-1所示的几个基本组成部分:示波器(又称阴极射线管,cathode ray tube,简称CRT)、垂直放大电路(Y 放大)、水平放大电路(X 放大)、扫描信号发生电路(锯齿波发生器)、自检标准信号发生电路(自检信号)、触发同步电路、电源等。
1. 示波管的基本结构示波管的基本结构如图2-11-2所示(其中H -灯丝 K -阴极 G 1,G 2- 控制栅极 A 1-第一阳极A 2-第二阳极 Y -竖直偏转板 X -水平偏转板)。
主要由电子枪、偏转系统和荧光屏三部分组成,全都密封在玻璃壳体内,里面抽成高真空。
(1)电子枪由灯丝、阴极、控制栅极、第一阳极和第二阳极五部分组成。
灯丝通电后加热阴极。
阴极是一个表面涂有氧化物的金属圆筒,被加热后发射电子。
控制栅极是一个顶端有小孔的圆筒,套在阴极外面。
它的电位比阴极低,对阴极发射出来的电子起控制作用,只有初速度较大的电子才能穿过栅极顶端的小孔然后在阳极加速下奔向荧光屏。
Y图2-11-1示波器基本组成框图 图2-11-2 示波管结构图示波器面板上的“辉度”调整就是通过调节电位以控制射向荧光屏的电子流密度,从而改变了荧光屏上的光斑亮度。
阳极电位比阴极电位高很多,电子被它们之间的电场加速形成射线。
当控制栅极、第一阳极与第二阳极电位之间电位调节合适时,电子枪内的电场对电子射线有聚焦作用,所以,第一阳极也称聚焦阳极。
信号与系统课件11-拉氏变换
求其拉普拉斯变换。
解 其双边拉普拉斯变换 F (s)=F (s)+F (s) b b1 b2
jω
仅当>时,其收敛域为 <Re[s]<的一个带状区域, 如图所示。
α
0
β
σ
例4 求下列信号的双边拉氏变换。 f1(t)= e-3t (t) + e-2t (t) f2(t)= – e -3t (–t) – e-2t (–t) f3(t)= e -3t (t) – e-2t (– t) 解
二、收敛域
只有选择适当的值才能使积分收敛,信号f(t) 的双边拉普拉斯变换存在。
使 f(t)拉氏变换存在的取值范围称为Fb(s)的
收敛域。
二.拉氏变换的收敛域
•收敛域:使F(s)存在的s 的区域称为收敛域。
•记为:ROC(region of convergence)
•实际上就是拉氏变换存在的条件;
拉氏变换对
F ( s) L f (t )
1
f (t ) e s t d t
正变换 反变换
1 σ j st f (t ) L f (t ) F ( s ) e ds σ j 2π j
记作 f (t ) F ( s ), f
(t ) 称为原函数, F ( s) 称为象函数
连续系统的复频域分析
引 言
频域分析以虚指数信号ejωt为基本信号,任意 信号可分解为众多不同频率的虚指数分量之和。使 响应的求解得到简化。物理意义清楚。
傅里叶正变换F ( j ) F f (t ) f (t ) e jt d t 1 1 傅里叶逆变换f (t ) F F ( j ) F ( j ) e jt d 2
信号与系统实验
信号与系统实验实验一常用信号分类与观察 (2)实验二阶跃响应与冲激响应 (5)实验三信号卷积实验 (8)实验四矩形脉冲信号的分解 (13)实验五矩形脉冲信号的合成 (18)实验六抽样定理与信号恢复 (20)实验七一阶电路的暂态响应 (26)实验八二阶电路的暂态响应 (30)实验九有源无源滤波器 (34)实验一常用信号分类与观察一、实验目的1、观察常用信号的波形特点及产生方法。
2、学会使用示波器对常用波形参数的测量。
二、实验内容1、信号的种类相当的多,这里列出了几种典型的信号,便于观察。
2、这些信号可以应用到后面的“基本运算单元”和“无失真传输系统分析”中。
三、实验仪器1、信号与系统实验箱一台(主板)。
2、20MHz双踪示波器一台。
四、实验原理对于一个系统特性的研究,其中重要的一个方面是研究它的输入输出关系,即在一特定的输入信号下,系统对应的输出响应信号。
因而对信号的研究是对系统研究的出发点,是对系统特性观察的基本手段与方法。
在本实验中,将对常用信号和特性进行分析、研究。
信号可以表示为一个或多个变量的函数,在这里仅对一维信号进行研究,自变量为时间。
常用信号有:指数信号、正弦信号、指数衰减正弦信号、抽样信号、钟形信号、脉冲信号等。
1、指数信号:指数信号可表示为()atf t Ke。
对于不同的a取值,其波形表现为不同的形式,如图1-1所示:图1-1 指数信号2、指数衰减正弦信号:其表达式为(0)()sin()(0)att f t Ket t ω-<⎧=⎨>⎩,其波形如图1-2所示:图1-2 指数衰减正弦信号3、抽样信号:其表达式为:sin ()a t S t t=。
()a S t 是一个偶函数,t =±π,±2π,…,±n π时,函数值为零。
该函数在很多应用场合具有独特的运用。
其信号如图1-3所示:图1-3 抽样信号4、钟形信号(高斯函数):其表达式为:()2t f t Eeτ⎛⎫- ⎪⎝⎭=,其信号如图1-4所示:图1-4钟形信号5、脉冲信号:其表达式为)()()(T t u t u t f --=,其中)(t u 为单位阶跃函数。
信号系统实验矩形脉冲信号的分解(有数据)
实验:矩形脉冲信号的分解一、实验目的1.分析典型的矩形脉冲信号,了解矩形脉冲信号谐波分量的构成;2.观察矩形脉冲信号通过多个数字滤波器后,分解出各谐波分量的情况。
二、实验原理说明信号的频谱与测量:对于一个周期为T的时域周期信号,可以用三角形式的傅里叶级数求出它的各次分量,在区间内表示为:三、实验设备1.双踪示波器 1台2.信号系统实验箱 1台四、实验步骤(1)连接P04 和P101;(2)调节信号源,使P04输出f=4KHz,占空比为50%的脉冲信号,调节W701使信号幅度为4V;(3)按下SW101按钮,使程序指示灯D3D2D1DO=0101,指示灯对应信号分解;(4)示波器可分别在TP801、TP802、TP803、TP804、TP805、TP806、TP807和TP808上观测信号各次谐波的波形;(5)矩形脉冲信号的脉冲幅度和频率保持不变,改变信号的脉宽(即改变占空比),测量不同了值时信号频谱中各分量的大小;(6)根据表11-1、表11-2中给定的数值进行实验,并记录实验获得的数据填入表中。
五、数据处理与分析1.2.六、实验总结1. 由于外界因素干扰,在使用示波器测量偶次谐波时,仍能够检测到部分小信号。
2. 实验中所测量的各次谐波的幅度与通过傅里叶级数计算得出的理论值很接近。
3. 傅里叶级数:该信号的第n 次谐波振幅为:有关。
附录实验过程中的数据图像①谐波数据图像一次二次三次四次五次六次七次八次谐波数据图像一次二次三次四次五次六次七次八次。
- 1、下载文档前请自行甄别文档内容的完整性,平台不提供额外的编辑、内容补充、找答案等附加服务。
- 2、"仅部分预览"的文档,不可在线预览部分如存在完整性等问题,可反馈申请退款(可完整预览的文档不适用该条件!)。
- 3、如文档侵犯您的权益,请联系客服反馈,我们会尽快为您处理(人工客服工作时间:9:00-18:30)。
信号与系统实验指导书
MATLAB 中,定义了 tripuls 函数来产生幅度为 1,宽度为 width,且以 t=0 为对称轴左 右各展开 width/2 宽度的、 ,斜率为 sknew 的三角脉冲信号,其中 width 默认为 1,sknew 的 取值范围为-1~+1 之间,默认值为 0,此时产生对称三角波。其语句格式为 y=tripuls(t,width,sknew) 程序如下: t=-2:.01:2; f=tripuls(t,2,0.5); plot(t,f); axis([-2 2 -0.5 1.5]) title('三角脉冲信号'); xlabel('时间(t)');ylabel('f(t)'); grid on 程序运行后,波形如图 1-10 所示。 在 MATLAB 中, 定义了 sawtooth 函 数来产生周期为 2 ,幅度 1 为的周期 图 1-10 三角脉冲信号 三角脉冲(锯齿波) ,其语句格式为 y=sawtooth(t,width) width 是位置横坐标与周期的比值,为 0~1 之间的标量,用于指定一个周期内峰值出现 的位置。 【例 1-11】用 MATLAB 产生一个周期为 2,幅度 1 为的周期直角三角脉冲信号。 程序如下: t=-8:.01:8; f=sawtooth(t*pi,0); plot(t,f); axis([-8 8 -1.5 1.5]); title('周期三角脉冲信号'); xlabel('时间(t)');ylabel('f(t)'); grid on 程序运行后,波形如图 1-11 所示。 在 MATLAB 的符号工具箱内将 Dirac 函 数定义为位冲激信号 (t ) ,其调用方式
sin(t ) t sin(t ) 在 MATLAB 中有与抽样函数类似的函数 sin c(t ) ,二者没有本质区别,只是在时 (t )
【例 1-7】用 MATLAB 描述抽样信号 Sa(t ) 间尺度上有不同而已。 程序如下: t=-2*pi:.01:2*pi; f=sinc(t); axis([-8 8 -0.5 1.2]); plot(t,real(f));title('抽样信号');xlabel('时间(t)'); grid on 程序运行后,波形如图 1-7 所示。
图 1-1 单边衰减指数信号
【例 1-2】用 MATLAB 描述正弦信号 f (t ) k sin( wt ) ,其中 k 3 , w 2 , 程序如下: k=3; w=2; phi=pi/3; t=0:.01:5; f=k*sin(w*t+phi); plot(t,f); axis([0 5 -4 4]); title('正弦信号'); xlabel('时间(t)'); ylabel('f(t)'); 程序运行后,波形如图 1-2 所示。 【例 1-3】用 MATLAB 描述复指数信号 f (t ) ke 程序如下: t=0:.01:3; k=2;
-3 st
3
图 1-2 正弦信号
,其中 k 2 , s 3 4 j
信号与系统实验指导书
a=-3 b=4; f=k*exp((a+b*i)*t); subplot(2,2,1); plot(t,real(f));title('实部');xlabel('时间(t)'); subplot(2,2,2); plot(t,imag(f));title('虚部');xlabel('时间(t)'); subplot(2,2,3); plot(t,abs(f));title('模');xlabel('时间(t)'); subplot(2,2,4); plot(t,angle(f));title('相角');xlabel('时间(t)'); 程序运行后,波形如图 1-3 所示。
sin(t ) t
Sa(t ) 信号是一个偶函数, t ,2 ,.......,n 时,函数值等于零,在 t 的正、负两
方向振幅都逐渐衰减。 5、单位斜变信号 f (t ) tu (t ) 斜变信号也称斜坡信号或斜升信号,指从某一时刻开始随时间正比例增长的信号。如果 增长的变化率是 1,就称作单位斜变信号 6、单位阶跃信号 u (t )
at
,
若 a 0 ,信号随时间增大而衰减; 若 a 0 ,信号随时间增大而增大; 若 a 0 ,信号不随时间而变化,为直流信号; 常数 K 表示指数信号在产 0 点的初始值。 1 , 越大,指数信号增长或衰减的速率越慢。 a 2、 正弦信号 f (t ) k sin( wt ) 正弦信号和余弦信号二者仅在相位上相差统称为正弦信号, 其中 k 为振幅, w 是角频率, 为初相位。 正弦信号是周期信号,其周期 T 与角频率 w 和频率 f 满足下列关系:
1 (t ) lim [u (t ) u (t )] 0 2 2
(t )dt 1 (t ) 0 (t 0)
-2-
信号与系统实验指导书
9、符号函数信号 sgn( t ) 用于表示正负号的函数,常被用于变换信号的极性。
u (0) 一般无定义,通常认为在 t 0 瞬间信号值从 0 跳变到 1,有时为分析问题方便在
某些情况下也定义 u (0) 1 。
2
阶跃信号具有较强的单边特性。即信号在接入时刻以前幅度为 0。 7、矩形脉冲信号 RT (t ) u(t ) u(t T ) 为书写方便,常利用阶跃信号及其延时信号之差来表示矩形脉冲,其中下标 T 表示矩形 脉冲出现在 0 到 T 时刻之间。 8、单位冲激信号
图 1-3 复指数信号
图 1-3 复指数信号
【例 1-4】用 MATLAB 描述单位斜变信号 tu (t ) 。 程序如下: t=0:.01:3; k=2; f=k*t; plot(t,f); title('斜变信号');
-4-
信号与系统实验指导书
xlabel('时间(t)');ylabel('f(t)'); 程序运行后,波形如图 1-4 所示。 【例 1-5】用 MATLAB 描述单位阶跃信号 u (t ) 程序如下: t=-1:.01:4; f=t>=0; plot(t,f); axis([-2 5 -1 2]); title('单位阶跃信号'); xlabel('时间(t)'); ylabel('u(t)'); 程序运行后,波形如图 1-5 所示。
图 1-4 单位斜变信号
图 1-5 单位阶跃信号
在 MATLAB 的 MAPLE 内核中,将 Heaviside 函数定义为阶跃信号符号表达式,在符号 运算过程中,若要调用它,必须先用 sym 定义:
y=sym('heaviside(t)'); ezplot(y,[-1 4])
此外, 可以创建名为 u 的阶跃函数的数值表示方法, 保存在 MATLAB 中的 work 目录下, 在以后的运算中,就可以调用该函数,函数程序如下:
三、
实验内容
【例 1-1】用 MATLAB 描述单边衰减指数信号
f (t ) ke at ,其中 k 4 , a 3
程序如下: k=4; a=-3; t=0:.01:3; f=k*exp(a*t); plot(t,f); axis([0 3 0 5]); title('单边指数信号'); xlabel('时间(t)'); ylabel('f(t)'); 程序运行后,波形如图 1-1 所示。
-1-
信号与系统实验指导书
虚部 w 则表示正弦与余弦信号的角频率。 若 0 ,正弦、余弦信号是增幅振荡; 若 0 ,正弦及余弦信号是衰减振荡; 若 0 ,即 s 为虚数,则正弦、余弦信号是等幅振荡; 若 w 0 ,即 s 为实数,则复指数信号成为一般的指数信号; 若 0 , w 0 ,即 s 等于零,则复指数信号的实部和虚部都与时间无关,成为直流 信号。 虽然实际上不能产生复指数信号,但是它概括了多种情况,可以利用复指数信号来描述 各种基本信号, 如直流信号、 指数信号、 正弦或余弦信号以及增长或衰减的正弦与余弦信号。 利用复指数信号可使许多运算和分析得以简化。 4、抽样信号 Sa(t )
图 1-8 矩形脉冲信号
【例 1-9】用 MATLAB 产生一个周期为 1,占空比为 30%的周期矩形脉冲信号。 在 MATLAB 中,定义了 square 函数来产生周期为 2 ,幅度 1 为的周期矩形脉冲,其 语句格式为 y=square(t,duty) 其中,duty 参数表示信号的占空比 duty%, 即在一个周期内脉冲宽度 (正值 部分)与脉冲周期的比值。占空比默认 值为 0.5。 程序如下: t=-2:.01:2; f=square(2*pi*t,30); plot(t,f); axis([-2 2 -1.5 1.5]); title('周期矩形脉冲信号'); xlabel('时间(t)');ylabel('f(t)'); 图 1-9 周期矩形脉冲信号 grid on 程序运行后,波形如图 1-9 所示。 【例 1-10】用 MATLAB 产生一个幅度为 1,宽度为 2,斜率为 0.5 的非周期三角脉冲信号。
function f=u(t) f=t>0;
【例 1-6】用 MATLAB 描述符号函数信号 sgn( t )
-5-
信号与系统实验指导书
程序如下: t=-5:.01:5; f=sign(t) plot(t,f); axis([-2 5 -2 2]); title('符号函数'); xlabel('时间(t)'); ylabel('sgn(t)'); 程序运行后,波形如图 1-6 所示。