单位时间核算表 (1)
阿米巴经营心得体会读阿米巴经营心得体会(三篇)

阿米巴经营心得体会读阿米巴经营心得体会(三篇)阿米巴经营心得体会读阿米巴经营心得体会篇一稻盛和夫初到日航时,首先看到的是日航的定位不清楚、机构官僚、以高层为首的全体员工严峻缺乏经营意识。
对于日航的内部治理问题只字不提,甚至稻盛和夫在上任一年之后面对记者提问时都这样答复:“在全体员工的努力下,即便在组织没有做出什么转变的状况下,日航就已经实现了1884亿日航的历史最高利润,信任在阿米巴经营体系导入日航之后,肯定会更加优秀。
”阿米巴经营奇迹归咎于稻盛和夫。
在稻盛和夫看来:企业的治理问题只是现象,其根源不在治理本身,而是经营出了问题。
唯有从经营的角度动身,才能将简单的治理问题实现简洁彻底地解决。
而他的经营之道也称为阿米巴经营,并没有以“阿米巴治理”或者“阿米巴经营治理”来命名,这样的叫法都是不正确的。
阿米巴经营如何实践敬天爱人的思想。
答:“敬天爱人”出自稻盛和夫鹿儿岛同乡西乡隆盛的《西乡南洲翁遗训》,因此稻盛和夫自小受其影响,也非常欣赏西乡隆盛的人格信仰和生活方式。
在创办京瓷的时候,一位支持他的伙伴在某天出差归来,带给稻盛和夫一件他同乡西乡隆盛的书法作品——西乡所书的“敬天爱人”。
稻盛和夫如获珍宝,马上拿去装裱店装裱起来挂在公司的接待室中,并打算将它作为京瓷的格言。
如今这幅字已被熏成了茶褐色,然而稻盛和夫依旧视他为无价之宝,无可替代,现在仍悬挂在自己的工作室中。
阿米巴经营如何实践敬天爱人的思想稻盛和夫说:“敬天爱人:敬畏上天,关爱众人。
这词句美丽、悦耳,触动人心。
所谓敬天,就是依循自然之理、人间之正道——亦即天道,与人为善。
换言之,就是坚持正确的做人之道;所谓爱人,就是摈弃一己私欲,体恤他人,持利他之心。
”稻盛和夫能将敬天爱人的理念贯彻究竟,除了受西乡隆盛的影响,更离不开其在个人成长和企业经营实践中得到的深刻感悟。
“敬天爱人”不仅被挂在墙上,更铭刻在稻盛和夫的心中,不断践行而发挥出巨大的威力,阿米巴如何实践敬天爱人的思想。
晨(午)会程序与规则 (精进版) (1)

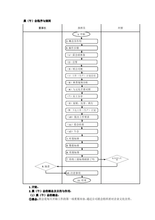
晨(午)会程序与规则1.开始。
2.晨(午)会的概念及目的与作用:(1)晨(午)会的概念:①晨会:晨会是每天开始工作的第一项重要内容,通过公司晨会组织者对企业文化宣传、董事长指挥员纠察1.开始(2)宣誓(4)工作(生产)计划总结(5)典型案例分析2.概念及作用3.操作步骤(1)晨会前准备(7)员工分享(8)延展、反省、践行(9)下达工作(生产)计划(6)与文化手册对照(11)晨会结束11.结束4.时量标准5.数量标准6.质量标准7.你的三量标准刷新了吗10.注意事项8.检查与考核9.抽查(12)午会(3)唱公司歌(10)提出工作要求培训规则、训练工作技能、单位时间核算表、工作计划总结的分析与总结及布置当天工作的系列活动。
②午会:午会是每天中午各部门(车间)开展的,针对《鼎泰盛文化——行为背后的思考逻辑》的学习和讨论。
(2)晨(午)会的作用:①晨会是企业的风向标,决定全员一天工作的状态;②通过晨会贯彻落实公司企业文化,调整工作状态振奋士气,反省昨天以及过去的工作弊端,针对性制定改正举措,提高自己、提高工作效率、总结工作经验、明确一日工作任务。
③通过午会进一步落实企业文化,指导员工运用企业文化出色的完成工作。
3.操作步骤:(1)晨会前准备:①参加晨会人员进至指定位置,指挥员跑步进至指挥位置,(或直接进至队伍指挥位置)。
②整理队形:整齐是使队列人员按照规定的间隔(左右间隔10CM)、距离(前后距离75CM),保持行、列整齐的一种队列动作。
口令为:稍息、立正、向右看——齐、向前——看。
A.口令:稍息。
动作要领:左脚顺脚尖方向伸出全脚掌的三分之二,两腿自然伸直,上体保持立正姿势,身体重心大部分落于右脚。
稍息过久,可自行换脚。
(5分)B.口令:立正。
动作要领:两脚跟靠拢并齐,两脚尖向外分开约60度;两腿挺直;小腹微收,自然挺胸;上体保持正直,身体微向前倾;两臂稍向后张并自然下垂,手指并拢自然微屈,拇指尖贴于食指第二关节,中指贴于裤缝;头要正,颈要直,口要闭,下颌微收,两眼向前平视。
阿米巴经营模式在公司财务管理中的运用浅析

阿米巴经营模式在公司财务管理中的运用浅析近几年,随着国内公司的转型,更多新型的经营模式被应用到公司内部,其中阿米巴就作为一个新型的经营方式,而受到了国内各大公司的青睐。
阿米巴核算是由日本稻盛和夫发明,在京瓷公司得到推广,并且推动了京瓷公司的快速发展。
目前国内的很多公司也比较推崇阿米巴的经营模式,结合公司的自身经营方式来开展阿米巴的核算,优化财务管理模式,提高财务管理质量。
标签:阿米巴;财务管理模式;单位时间核算一、阿米巴核算模式的基本概念(一)阿米巴概述阿米巴是一种新型的经营管理哲学,它通过将公司内部的经营活动细分为各个小单元,然后将这些小单元统一汇总成一个集体,开展单位内部的独立核算、独立经营,从而建立一个单位内部的良好环境。
在内部各业务单元经营当中,可以实现独立的核算经营,这样会增强业务的运作效率。
通过构建公司内部的市场环境,增强各个业务单元之间的竞争优势。
在开展公司的财务管理当中,应用阿米巴核算将单元内部的工作事项进行细化,并且要求单位的财务管理人员也要参与到业务单元的核算中。
因此,单位在内部通过建立一个核算的管理机制,才能够推动阿米巴模式的落地实施。
阿米巴核算要结合当前公司内部的具体经营状况和经营特点,对单位内部各组织进行切分,实现单位内部细小业务单元的组合,这样才能够提高组织的灵活度。
将公司内部的整体管理平台作为一级的阿米巴组织,各单元根据业务部门的规模,来划分相应级别的阿米巴组织;在单位内部的一级阿米巴组织下设置二级组织架构,这使一级组织内部的销售部门、生产部门、设计部门等也会形成单独的核算单元,并且在基层的阿米巴组織内部,这些组织都是最小的业务细胞。
阿米巴经营的特点就是由各部门独立的核算、独立经营以及独立的完成业务单元的各类工序,并保持组织与整体公司的经营方针相统一。
(二)单位时间的核算公司内部的微型阿米巴组织要开展细化核算工作,就需要核算人员在单位的时间内,对业务单元所创造的价值进行计算。
七讲财务知识阿米巴核算

改进与优化
根据绩效评价结果,发现阿米 巴单元存在的问题和不足,提 出改进和优化方案。
战略调整
根据绩效评价结果,对阿米巴 经营战略进行调整和优化,以 提高整体经营绩效。
资源分配
根据绩效评价结果,合理分配 企业资源,确保资源向高绩效
阿米巴单元倾斜。
06
阿米巴经营人才培养
人才培养的途径
内部培训
3
经营会计报表的种类
按照报表的编制主体可分为个别财务报表和合并 财务报表;按照报表的编制时间可分为年度财务 报表和中期财务报表。
经营会计报表分析
经营会计报表分析的意义
01
通过对经营会计报表进行分析,可以了解企业的财务状况、经
营业绩和现金流量等情况,为企业的决策提供依据。
经营会计报表分析的方法
02
包括比率分析法、趋势分析法和因素分析法等。
通过内部培训课程,让员工了解 阿米巴核算的基本原理、操作流
程和运用技巧。
外部引进
引进具有阿米巴经营经验和专业 知识的外部人才,为企业提供更
专业的指导和支持。
交流与合作
与其他企业或机构进行交流与合 作,分享经验,互相学习,共同
提高。
人才培养的方法
理论学习
通过培训课程、阅读资料等方式,让员工系统地 学习阿米巴核算的理论知识。
强调团队合作精神
阿米巴经营注重团队合作精神,鼓励员工之间的互助和协作,共同 完成阿米巴的经营目标。
02
阿米巴核算体系
单位时间核算制度
单位时间核算制度是阿米巴核算体系的核心,它以单位时间 为基准,将企业整体经营目标分解为各个阿米巴组织的经营 目标,通过提高每个阿米巴的效率来实现企业整体效率的提 升。
优秀论文范例

.作业论文〔设计〕题目浅析京瓷公司企业文化管理方式指导教师谭文武专业班级人力资源1501姓名穗学号 02015年 12月 07日神,实际上与中国的儒家思想是一脉相承的,京瓷创始人稻盛和夫创立目录5错误!未定义书签。
1.1系统现状研究错误!未定义书签。
1.2系统开发方法错误!未定义书签。
错误!未定义书签。
2.1系统调研错误!未定义书签。
2.2系统总体目标错误!未定义书签。
2.3技术可行性分析883.1系统需求分析8功能需求8性能需求93.2系统流程图9数据流程图9104.1概要设计10功能模块结构图10功能模块描述104.2数据库设计11表设计114.3详细设计12用户登录模块设计13论题管理模块设计14学生选题模块设计15筛选学生模块设计17留言联系模块设计18上传论文模块设计19查看论文模块设计19系统管理模块设计205.系统实现145.1论题管理模块实现225.2学生选题模块实现235.3筛选学生模块实现245.4留言联系模块实现255.5上传论文模块实现255.6查看论文模块实现276系统测试276.1系统登录模块测试276.2学生选题模块测试286.3测试总结错误!未定义书签。
结论错误!未定义书签。
参考文献31引言企业文化企业文化是指在一定的条件下,通过工作实践所形成的并为全体成员遵循的共同意识、价值观念、职业道德、行为规和准那么的总和,对于一个企业来说,企业文化有利于公司形成一个整体的气氛,是全公司都能认同并以此为标准价值观,来为公司和个人创造利益的根底。
如同服装品牌一般,一个企业的企业文化是它对外界的形象,也是它对部员工作态度的影响因素。
京瓷公司在创业之初并没有一个企业文化,在后来的企业开展中,稻盛和夫意识到了企业文化对于京瓷的重要性,由此创立了阿米巴组织模式,并将京瓷哲学作为京瓷公司的企业文化,贯彻到公司的每一个人心中,从而使公司的效率以及创新能力得到大幅度提升,使公司顺利度过了经济大萧条时期。
标准工时分析表(MOD法)1

(1) 所有由人进行的作业,均是共通的基本动作组成的,模特法将实际生产作业中的人体动作归纳为21种. (2) 不同的人做同一动作(在作业条件相同的情况下)所需时间基本相等.
(3) 人体不同部位的动作,所用时间值是相互成比例的,如手的动作时间是手指动作时间的2倍,小臂的动作 时间是手指动作时间的3倍,由此就可以定义手指一次动作时间为人体动作的基本单位时间,同时其它动 作与之成倍数关系计算求得.
开盒拉出编带装入成型机
每编带500PCS
校正后摇动机器成型 移动上身移动小臂至零件盒抓取物料 拿到胸前
开盒拉出编带装入成型机
每编带1000PCS
校正后按开关开动机器成型 移动上身移动小臂至零件盒抓取物料 拿到胸前
开盒拉出编带装入成型机
每编带1000PCS
校正后摇动机器成型
机械自动成型
编带500PCS
M3G3 M3P0 R2P5
机械自动成型
移动小臂至零 件盒抓取陶瓷电容 拿到胸前 校正后插入治具并成型 取下桥堆放入物料盒中 移动小臂至零 件盒抓取陶瓷电容 拿到胸前 校正后插入治具并成型 取下桥堆放入物料盒中 移动小臂至零 件盒抓取陶瓷电容 拿陶 瓷 电 容 到 胸 前 校正后插入治具并成型 取下桥堆放入物料盒中
散热片缠黄胶
移动小臂至零 件盒抓取电解电容 拿到胸前 看清方向 校正后夹入治具并弯脚 取下电容放入物料盒中 移动小臂至零 件盒抓取电解电容 拿到胸前 看清方向 校正后夹入治具并弯脚 将电容放入物料盒中 移动小臂至零 件盒抓取电解电容 拿到胸前 校 正 后 夹 入 治 具 并 打KIN脚 取下电容放入物料盒中 移 动 小 臂 至 零 件 盒 抓 取灯 仔 拿到胸前 校正后夹入治具并切脚 移 动 小 臂 至 零 件 盒 抓 取灯 仔 拿到胸前 看清方向 校正后夹入治具并弯脚 取下灯仔放入物料盒中 移 动 小 臂 至 零 件 盒 抓 取三 极 管 拿到胸前 看清极性 校正后取下管塞并放入 成型机 将物料装入静电带中 将物料转入物料盒中 移 动 小 臂 至 零 件 盒 抓 取三 极 管 拿到胸前 看清极性 校正后夹入治具并成型 取下桥堆放入物料盒中 移动小臂至零 件盒抓取桥堆 拿到胸前 看清方向 校正后夹入治具并成型 取下桥堆放入物料盒中 移动上身移动小臂至零件盒抓取物料 拿到胸前
阿米巴经营哲学(精华)
阿米巴只控制自己 能够控制的
阿米巴领导的工作重点: 提高单位时间盈利能力
制定核算模式(4) ----三个方法
售价
结算销售额
一.收入掌握方法
售价-成本=利润 与市场价格挂钩
订单生产 方式下的 内部结算 方法
销售佣金
制造 部门 成本 制造成本
销售部门收入
结算收益 销售经费
制造部门
销售部门
制定核算模式(5) ----三个方法
• 提高核算原则 • 现金本位经营原则
– 会计利润PK现金
• 玻璃般透明的经营原则
制定核算模式(3) ----独特的单位时间核算制
• 追求“两化”:
– 销售最大化 – 经费最小化
• • • • • • • •
以市场价格为基础 力所能及 制造和销售部门都是盈利部门 用金额表示目标和成果 每天进行核算 用核算表统一运作管理 阿米巴之间可以调拨时间 京瓷将核算时间精确到0.5小时
– 确立与市场挂钩的部门核算制度 – 培养具有经营者意识的人才 – 实现全体员工共同参与经营
每一位员工都是主角
确立与市场挂钩的部门核算制度
• 核心:
– 与市场挂钩(实现全员参与经营)
• 关键:
– 需要现在的数字
• 形式:
– 小经营单元 – 公司内部购销机制
公平,公正,正义,勇 气,诚实,忍耐,努力, 善意,关系,谦虚,博 阿米巴作为一个核算单位 , 爱…… 是一个拥有明确的志向和 目标、持续自主成长的独 立组织。
但是思考方式可以从负100分到正100分为止。”
经营之道
企业最重要的在于三个要素:专业人才、 金钱、技术,只要有这三项要素,就有经 营。在这三者之中,人才又是最重要的。
06年《企业经济统计学》最新笔记(四)
(⼆)企业服务质量统计 1、安全指标 反映安全特性的主要指标有:事故件(次)数、死亡⼈数、货损率(见P163的解释)等。
2、准确性指标 准确特性包括时间、空间(地理位置)上的准确两个⽅⾯,可以采⽤准确率指标来反映。
不同企业对准确特性要求不同,运输企业⽤正点率、邮电企业⽤差错率反应准确特性。
3、速度指标 速度是指服务企业提供服务的及时性,通常可以⽤及时率指标来反映。
及时率指标是通过服务中实际消耗时间的长短来反映是否及时,在规定的时间内为及时,超过规定的时间为不及时。
常⽤的指标有;电报(函件)全程及时率、电报发报(投递)及时率、长途电话及时率等。
4、便利和满意指标(P164) 便利是指⽤户享受服务的⽅便程度,满意是指⽤户对提供服务的感受程度。
衡量便利与满意可以采⽤每⼀服务⼈员平均服务的⼈⼝数、顾客满意率和问卷调查平均分等指标。
第四节产品质量控制(P164-173) ⼀、质量控制的基本原理 (⼀)质量控制中的数据 数据是反映事物性质的⼀种量度。
在质量管理中,根据产品本⾝的特性不同⼀般可分为计量值数据和基数值数据量⼤类。
搜集数据⼀般采⽤抽样检查的⽅法。
(⼆)产品质量波动 产品加⼯即使在相同的⼯艺技术条件下,所⽣产出来的产品,也不会绝对相同,其产品质量总是在⼀定范围内波动。
影响产品质量的因素尽管是复杂多样的,但⼤体可分为两⼤类: 1.偶然性因素(正常原因) 2.系统性因素(异常原因) (三)⼯序能⼒指数 1.⼯序能⼒ ⼯序能⼒是指⼯序⼯序能⼒在⼀定的⽣产技术条件下所具有的加⼯精度,即⼯序处于正常和稳定状态下,所表现出来的保证⽣产合格品的能⼒。
从⼀定意义上来说,⼯序能⼒也可以理解为⼯序质量。
从定量⾓度看,⼯序加⼯产品的质量特性数据的波动幅度(分散程度)可⽤6σ来表⽰,即表⽰⼯序能⼒⼤⼩的B为6倍标准差σ。
2.⼯序能⼒指数 ⼯序能⼒指数是指技术要求或产品公差范围(T)与⼯序能⼒(B)的⽐值,⼀般⽤Cp表⽰。
《阿米巴经营的结构原理》读书笔记
《阿米巴经营的结构原理》读书笔记一、稻盛和夫和他的京瓷创业史1、创业历程他经常面临的问题:常常因为员工们无法与自己在思想上达成一致而苦恼不已。
他想到的解决办法:他希望公司内部建立起这种“家庭般的关系”,他将这样的劳资关系命名为“大家族主义”,决定了今后以此为基础开展经营。
2、所谓“阿米巴经营”:就是把组织划分成一个个小的团体,各自独立核算,同时在公司内部培养具备经营者意识的领导人,让全体员工参与经营,实现全员参与型经营。
二、京瓷阿米巴经营成功的核心1、依据“销售最大化、费用最小化”的经营原理原则为了实现这个原则,将公司划分成小的单位,采用能够立即应对市场变动的分部门核算管理制度。
为了让缺乏专门财务知识的人也能够看明白阿米巴的核算,采用“单位时间核算表”计算阿米巴收支为了让各个单位都能实际感觉到“销售最大化、费用最小化”的这条经营原则,因而能自主开展经营,在公司内部小单位之间建立买卖模式。
2、运行阿米巴是为了达到这三个目的目的一:确立与市场直接挂钩的分部门核算制度需要的不是过去的数字,而是“现在的数字”面对瞬息万变的市场,需要在产品生产过程中,对成本进行即时管理。
这些数据能帮助经营者做出判断:在现在这时刻,公司处于何种经营状态,应该采取何种办法去应对才好。
判断基准:“作为人,何谓正确?”在企业经营中,必须依据“作为人,何谓正确?”的原则进行判断。
原理原则:“销售最大化、费用最小化”超越世间所谓的常识(“这种行业,利润率也就这样”)。
销售可以无限增大,费用可以降到最低,利润也可以无限增加。
按照原理原则诞生的分部门核算制度把整个企业划分成若干个小单位,让这些小单位之间进行公司内部的买卖。
各个部门就如同一个中小企业一样,能够成为一个独立的核算单位。
各个单位都能实际感觉到“销售最大化、费用最小化”的这条经营原则。
直接传递市场动向,迅疾对应把组织细分,分成一个个独立核算的单位,就是“阿米巴”。
每个阿米巴安排一位负责人即阿米巴长,负责阿米巴的经营。
稻盛和夫的阿米巴核算“单位时间核算制”到底是什么?
稻盛和夫的阿米巴核算“单位时间核算制”到底是什么?阿米巴经营是稻盛和夫独创的经营管理手法,从开始应用至今已有54年,这期间历经发展完善,可以说是一套非常成熟的经营管理手法了。
比较遗憾的是阿米巴经营实际上在国内并没有得到真正的传播,以至于很多人挂羊头卖狗肉混淆视听。
这其中比较典型的有如下几点:①阿米巴会计核算是“经营会计”②阿米巴费用统计要区分固定费、变动费在学术上根本就没有“经营会计”这个说法。
阿米巴经营在京瓷被称为“自主式管理会计”,是管理会计的一种,它有个更专业的说法叫“单位时间核算制”。
单位时间核算制是不区分固定费变动费的,为什么呢?原因很简单,因为阿米巴团队的大小可能会随时有变化,比如要分摊租金,租金在管理会计里一般是固定费,但是到了阿米巴团队可能是按照人头、使用面积、工位等按比例分摊的,如果原来阿米巴团队是8个人,现在12个人了,那分摊的租金必然是变化的。
因此在阿米巴经营中不区分固定费、变动费,一切费用都是变动费,都要想办法削减。
至于国内大多数讲阿米巴的所讲的经营会计、边界利益,我就不屑一驳了,因为学术上压根就没有这个说法,网上都搜不到专业的名词解释。
那到底什么是阿米巴会计核算“单位时间核算制”?又有什么作用?单位时间核算制是什么阿米巴的会计核算叫单位时间核算制,阿米巴经营落地的核心工具就是单位时间核算表。
当月的单位时间核算表横向往往是有3个模块:目标、实绩、达成率,下月初开经营分析会的时候就要根据达成率来寻找原因并制定改善措施。
在纵向上,单位时间核算表主要有5个核心要素:销售、费用、附加值(对制造部门来说也叫结算销售额,对销售部门来说也叫结算收益)、工作时间和单位时间附加值。
单位时间核算表有2种格式,“制造部门”核算表和“销售部门”核算表。
单位时间核算表首先是全公司内部最重要的组织沟通“语言”之一,从目标计划的设定到过程监控,一直到绩效管理(考核评价、数据挖掘、改善措施)。
作为独孤求败级的企业管理大师,稻盛和夫在这其中有很多精妙的设计和考虑。